文章来源:中国化学品安全协会
在石化及储运装置中,决定工艺安全的不总是宏大的设备,而往往是一个不起眼的“柔性连接”。
在危化品企业的安全检查里,常常有被点名的“关键点”——储罐出口管道的挠性连接。听起来有点拗口,但它的重要性不容忽视。
因为它关乎的不是别的,而是——储罐及设备会不会因为一点小小的变形,就导致大事故。
为什么这么重要?
想象一下,一只大水缸底部接着一根管子。如果地面轻微下沉,或者冷热变化让管道伸长缩短,甚至突遇地震,管道和水缸连接的地方就可能被硬生生扯开。对于储存易燃易爆物料的储罐来说,这就是一颗随时可能引爆的“隐形炸弹”。
而在储罐里,这个接口就是焊缝和喷嘴,一旦裂开,泄漏的就不再是清水,而可能是成千上万升的易燃液体。
挠性连接就是“给留点余地”
那么,什么是挠性连接?
通俗来说,就是在管道与储罐出口相连的地方,给它一点“活动的空间”。 当地基沉降、温度变化或外力冲击出现时,这些柔性的设计可以像“减震器”一样,吸收和释放应力,避免把力直接传递到焊缝和罐壁上。
在我国,相关标准早已明确要求储罐出口管道要有柔性设计:
《石油化工储运系统罐区设计规范》强调,主要进出口管道必须采用柔性连接,以满足地基沉降和抗震需要。
下面给出三种常见做法:
1、管道布置成“L”“Z”或“U”形
利用弯曲让管道自然具备弹性,简单可靠。就像家里拉电线时会故意留点“松”,避免拉直后随时被扯断。

2、使用金属软管
这种类似“金属弹簧”的软管,能在一定范围内伸缩和弯曲,很适合空间有限的地方。缺点是需要定期检查,防止疲劳损坏。
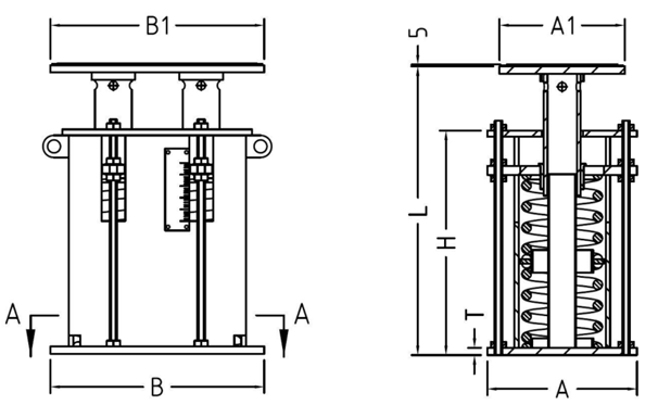
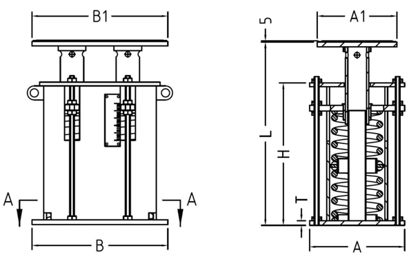
3、弹簧支吊架
通过弹簧来“分担”管道重量和位移,把应力减轻在连接点之外。看似不起眼,但在热胀冷缩和沉降较大的场景下非常有效。
很多与塔设备连接的管道,由于管径大、温度变化非常明显等原因会使管道应力变化非常大,会导致管道破裂, 甚至拉裂塔体引发重大事故。
所以塔设备的再沸器、气相管道等需要安装弹簧支架,用于补偿管道应力。

还有《石油化工管道柔性设计规范》,则把这些要求作为设计中的“基本功”。

小结:细节决定安全
储罐的出口管道挠性连接及塔设备管道的弹簧支撑,说到底就是一个“安全缓冲器”。它存在的意义,是在不可避免的沉降、热胀冷缩、甚至地震面前,为储罐争取一条不撕裂、不泄漏的安全路径。
在工业安全的世界里,没有“无关紧要的小问题”。挠性连接,真不是“软”处理,而是硬道理。
一审一校:张辉
二审二校:何玲
三审三校:雷振友

