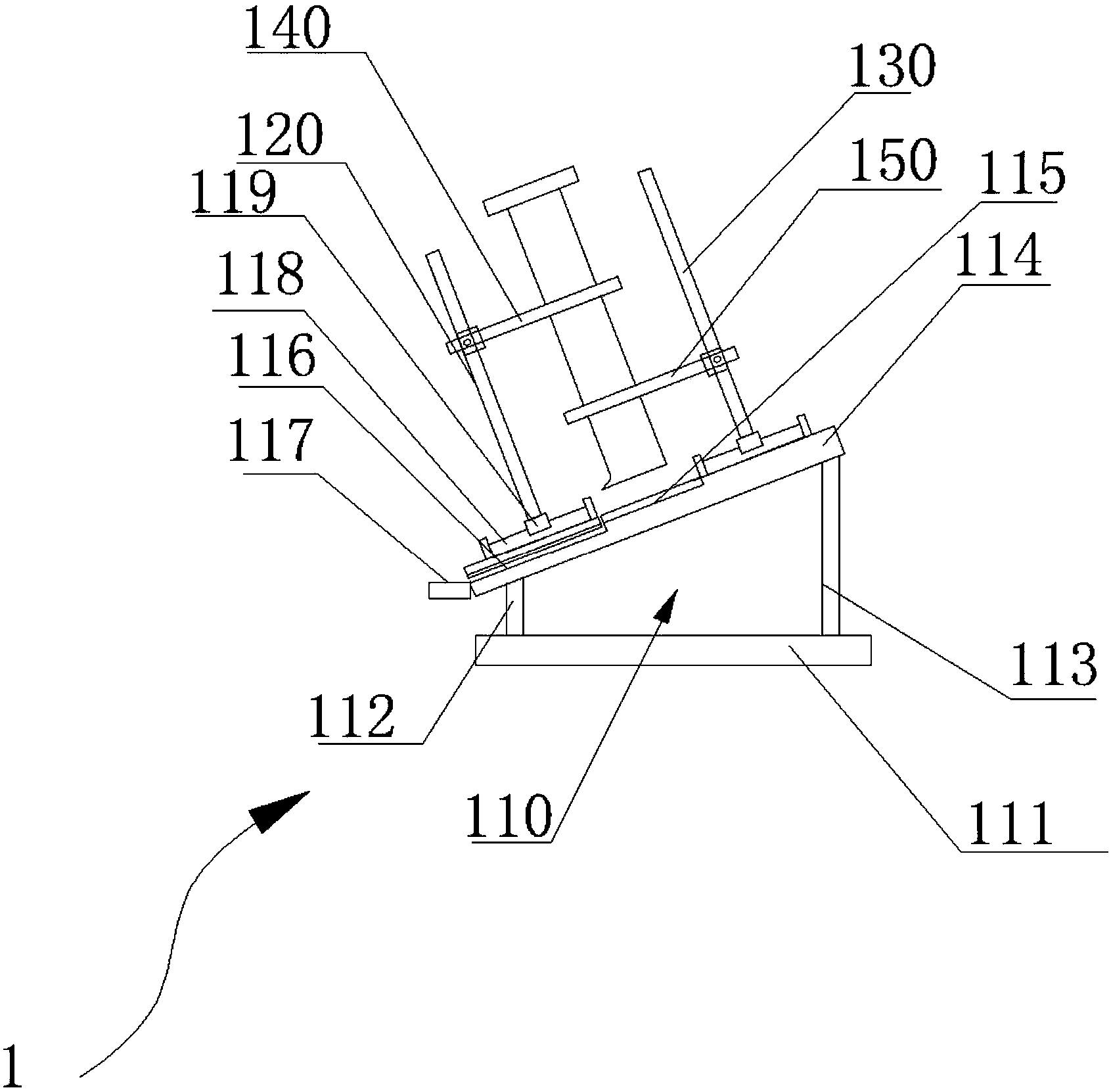
本实用新型公开了一种量筒固定装置。包括:角度可调节底座;左支撑杆和右支撑杆,其水平可滑动地设置在所述角度可调节底座上;以及第一夹持装置和第二夹持装置,其分别上下可滑动地设置在所述左支撑杆和右支撑杆上,第一夹持装置和第二夹持装置用于夹持量筒。本实用新型的有益效果是:既能够使量筒在使用状态时保持竖直放置,又能够使量筒在清洁后保持倾斜放置;所述第一夹持装置和第二夹持装置上下可滑动地设置在所述左支撑杆和右支撑杆上,便于观察量筒的刻度;在所述第二板面内设有与所述凹槽相连通的排水槽,并设有与所述排水槽相连的收集盒,便于收集量筒内残留的水。


