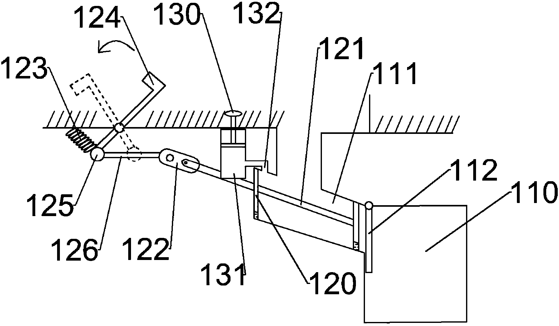
本实用新型公开了一种活塞式公共厕所,包括:粪池,其与粪池轨道下端固定连接;以及活塞装置,其包括活塞,所述活塞可滑动连接于粪池轨道内;冲水装置,其设置于进水管道上,所述冲水装置上的出水口连通粪池轨道上端;该公共厕所设有冲水装置和活塞装置,可以在冬季用水不方便时清理粪便,还可以在冲走粪便的同时,最大限度的节约水源,在粪池设计挡板,防止气味溢出,且较普通厕所有更高的使用性能和环保性能。

文章来源:石化研究所发布时间:2023-07-31浏览次数:10
本实用新型公开了一种活塞式公共厕所,包括:粪池,其与粪池轨道下端固定连接;以及活塞装置,其包括活塞,所述活塞可滑动连接于粪池轨道内;冲水装置,其设置于进水管道上,所述冲水装置上的出水口连通粪池轨道上端;该公共厕所设有冲水装置和活塞装置,可以在冬季用水不方便时清理粪便,还可以在冲走粪便的同时,最大限度的节约水源,在粪池设计挡板,防止气味溢出,且较普通厕所有更高的使用性能和环保性能。

地址:古塔校区 辽宁省锦州市北京路二段四号 邮编:121000
滨海校区 锦州市太和区柳江街2段2号 邮编:121000
电话:0416-3212009 辽宁石化职业技术学院 版权所有
