一种多功能手动灭火通风厨
(CN201620416579.4)
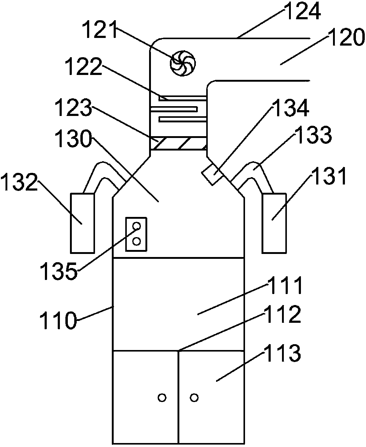
本实用新型公开了一种多功能手动灭火通风厨,包括:橱柜;气体吸收装置,其可拆卸连接于橱柜控制区两侧外壁上;灭火装置,其可拆卸连接于橱柜顶部两侧外,橱柜上设有连通灭火装置的灭火通孔;该装置设有气体吸收装置和灭火装置,灭火装置采用手动按钮,预防发生火险时电动按钮出现烧毁不能灭火的现象,本新型使该通风厨可以在完成气体置换的同时预防火险的发生,并设有火光预警装置,从根本上预防险情。

文章来源:石化研究所发布时间:2023-07-30浏览次数:10
一种多功能手动灭火通风厨
(CN201620416579.4)
本实用新型公开了一种多功能手动灭火通风厨,包括:橱柜;气体吸收装置,其可拆卸连接于橱柜控制区两侧外壁上;灭火装置,其可拆卸连接于橱柜顶部两侧外,橱柜上设有连通灭火装置的灭火通孔;该装置设有气体吸收装置和灭火装置,灭火装置采用手动按钮,预防发生火险时电动按钮出现烧毁不能灭火的现象,本新型使该通风厨可以在完成气体置换的同时预防火险的发生,并设有火光预警装置,从根本上预防险情。

地址:古塔校区 辽宁省锦州市北京路二段四号 邮编:121000
滨海校区 锦州市太和区柳江街2段2号 邮编:121000
电话:0416-3212009 辽宁石化职业技术学院 版权所有
