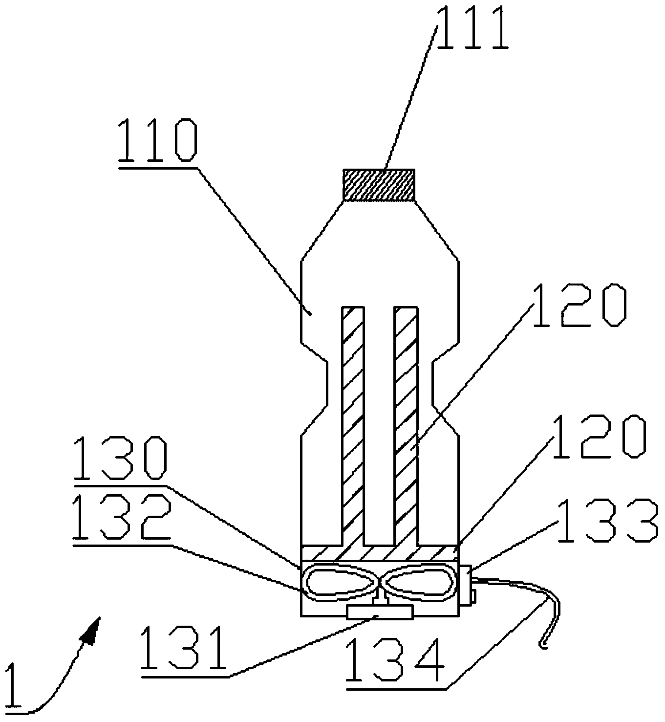
本实用新型涉及了一种自行车自发电半导体制冷水壶。包括:水壶,水壶内部结构设有半导体制冷片底部设有散热器及电源开关,当有电流通过时半导体制冷片开始工作,可以将水壶内饮料的温度降低;自行车自发电装置,所述的自行车自发电装置是由安装在自行车后轮的永磁体和电磁感应线圈构成,并固定在自行车后轮处。本实用新型的有益效果是:采用自行车发电装置,永磁铁与电磁感应圈相对运动发电,电流通过连接导线连接水壶内的半导体制冷片使水壶达到制冷目的,此装置小巧便捷,安装简易。适用于长时间骑行运动后直接饮用冰镇运动饮料的装置。


