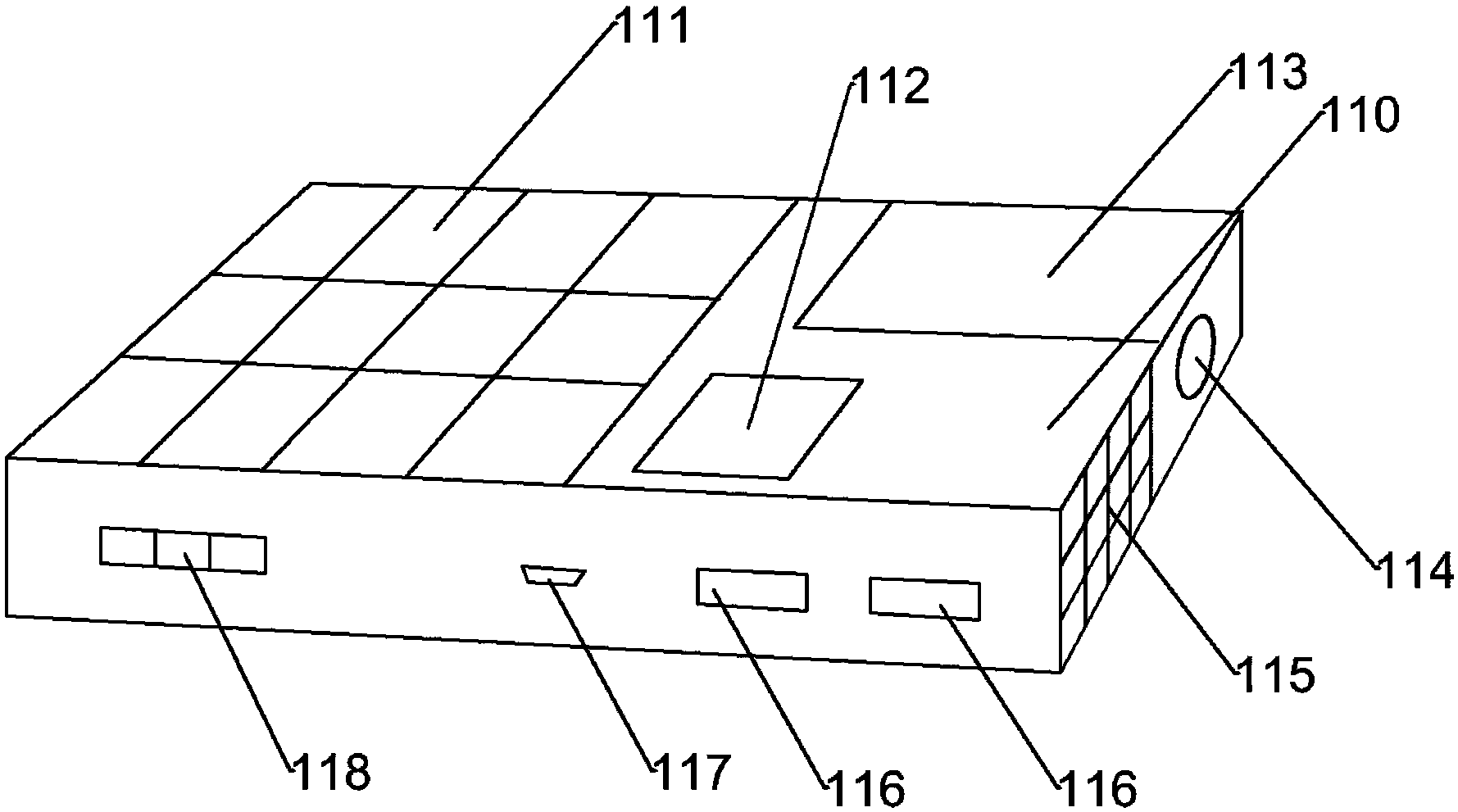
本实用新型公开了一种多功能移动电源,包括:壳体;太阳能电池板,其设置于壳体表面,与壳体可拆卸连接,与壳体内电芯电联接;定位装置,其设置于壳体内,壳体表面设有定位指示灯;除蚊器,其设可拆卸连接于壳体一端,与壳体内电芯电联接;以及剃须刀头,其设置于壳体另一端,与壳体可拆卸连接,与壳体内电芯电联接;该移动电源设有剃须刀头能够很好地解决旅行过程中剃须的问题还设有驱蚊器,避免蚊虫叮咬,游客遇到危险时能够通过GPS进行定位和灯光闪烁求救,能够第一时间得到救援,并且还为移动电源提供了太阳能充电功能能够解决没有外接电源无法充电的问题。


