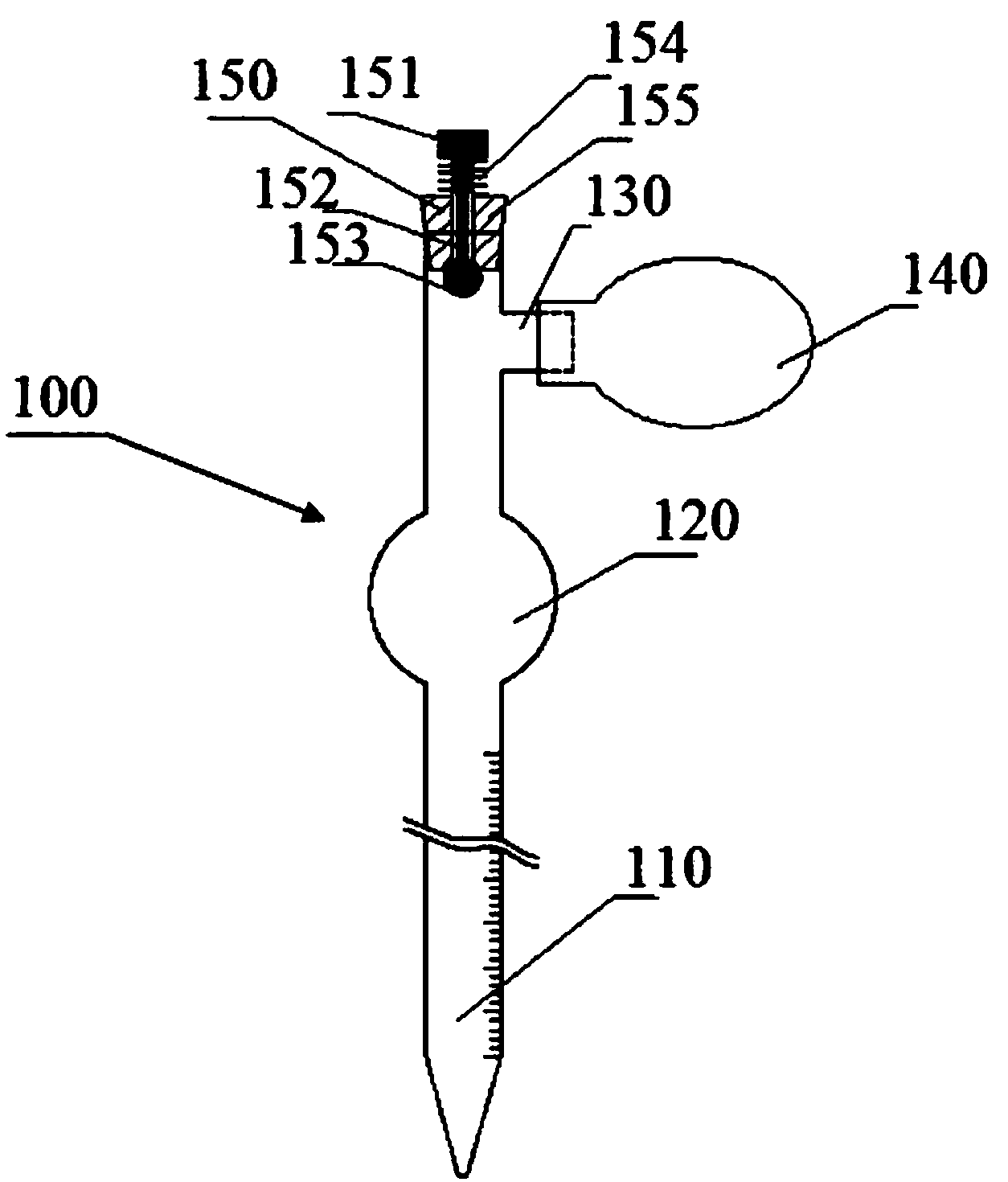
本实用新型公开了一种防腐蚀定量滴管,其特征在于,包括:玻璃管,其上设置有刻度,用于计量体积;缓冲球,其设置在玻璃管中部,以及侧管下部;缓释结构,其设置在玻璃管的上部,用于控制液体流出量。本实用新型通过改进胶头滴管的结构,在玻璃管上标注体积刻度,实现了液体的准确计量;在玻璃管本体上设置缓冲球防止液体倒吸入胶头产生腐蚀;通过胶头和缓释结构实现液体的吸取和准确控制,操作简便,

文章来源:石化研究所发布时间:2023-09-11浏览次数:10
本实用新型公开了一种防腐蚀定量滴管,其特征在于,包括:玻璃管,其上设置有刻度,用于计量体积;缓冲球,其设置在玻璃管中部,以及侧管下部;缓释结构,其设置在玻璃管的上部,用于控制液体流出量。本实用新型通过改进胶头滴管的结构,在玻璃管上标注体积刻度,实现了液体的准确计量;在玻璃管本体上设置缓冲球防止液体倒吸入胶头产生腐蚀;通过胶头和缓释结构实现液体的吸取和准确控制,操作简便,

地址:古塔校区 辽宁省锦州市北京路二段四号 邮编:121000
滨海校区 锦州市太和区柳江街2段2号 邮编:121000
电话:0416-3212009 辽宁石化职业技术学院 版权所有
