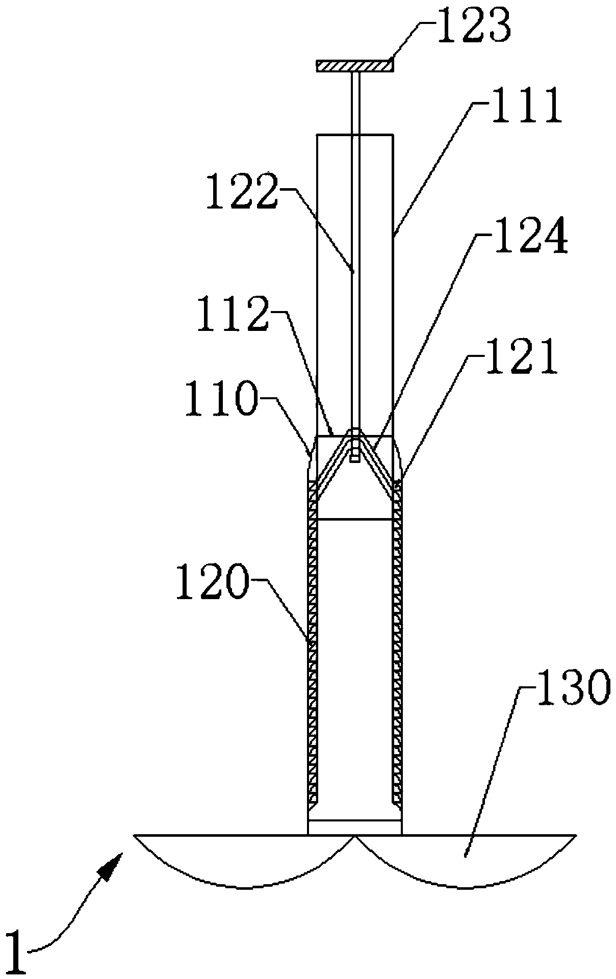
本实用新型公开了一种可调节搅拌桨,包括:搅拌桨杆,其内部设有卡槽,用于固定伸缩杆,搅拌桨杆底部设有搅拌桨叶片;伸缩杆,其外部设有卡扣,伸缩杆插入搅拌桨杆内,通过卡扣卡入搅拌桨杆内不同高度的卡槽达到调节高度的目的;搅拌桨叶片,其设置在搅拌桨杆底部用于搅拌化学试剂。本实用新型所述的有益效果是:设计了一种可变换长度的搅拌桨,实现传统搅拌桨所具有的搅拌等功能;同时该搅拌桨具有不同规格,可以与不同型号的机械搅拌浆组合,且安装简易省时,具有一定强度,有可伸缩性,节省存放空间。

文章来源:石化研究所发布时间:2023-09-12浏览次数:10
本实用新型公开了一种可调节搅拌桨,包括:搅拌桨杆,其内部设有卡槽,用于固定伸缩杆,搅拌桨杆底部设有搅拌桨叶片;伸缩杆,其外部设有卡扣,伸缩杆插入搅拌桨杆内,通过卡扣卡入搅拌桨杆内不同高度的卡槽达到调节高度的目的;搅拌桨叶片,其设置在搅拌桨杆底部用于搅拌化学试剂。本实用新型所述的有益效果是:设计了一种可变换长度的搅拌桨,实现传统搅拌桨所具有的搅拌等功能;同时该搅拌桨具有不同规格,可以与不同型号的机械搅拌浆组合,且安装简易省时,具有一定强度,有可伸缩性,节省存放空间。

地址:古塔校区 辽宁省锦州市北京路二段四号 邮编:121000
滨海校区 锦州市太和区柳江街2段2号 邮编:121000
电话:0416-3212009 辽宁石化职业技术学院 版权所有
