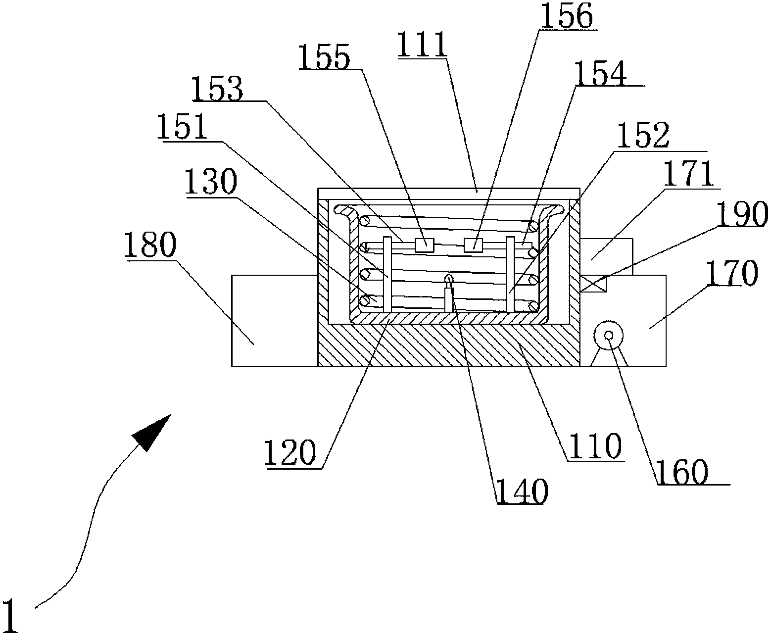
本实用新型公开了一种实验室清洗机。包括:壳体,其上部开口,内部设有容纳腔;内筒,其设置在所述壳体的容纳腔内;夹持装置,其设置在所述内筒的下部,用于夹持和固定待清洗的器皿;旋转喷头,其设置在所述内筒的底部,用于喷射清洗液,清洗器皿的内壁;橡胶管,其螺旋设置在所述内筒的内壁,在橡胶管上设有均布设有多个喷嘴,橡胶管用于喷射清洗液,清洗器皿的外壁;水泵,其设置在所述壳体的一侧,用于将清洗液分别输送至旋转喷头和橡胶管。本实用新型的有益效果是:能够从多角度、快速的清洁器皿,可替代人工清洗,防止人员受到有毒药品侵害;设有夹持装置,能够固定和夹持待清洁的器皿,防止器皿在清洁过程中损坏。


