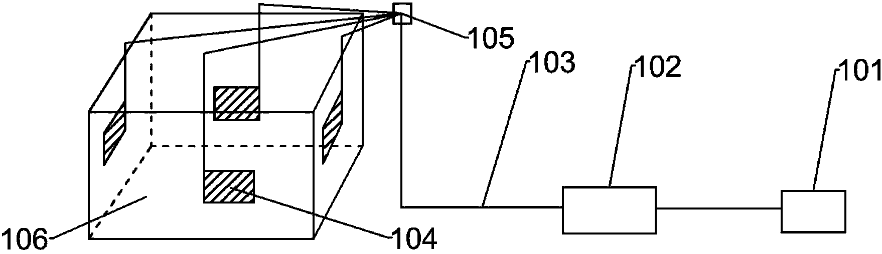
本实用新型公开了一种超声波洗涤器,包括:容器;以及多个超声波探头,其设置在所述容器的内壁;插头连接端,其表面设有多个插头插孔;超声波发生器,其与插头连接端电联接;超声波变频器,其与超声波发生器电联接;其中,所述超声波探头与插头连接端电联接,所述超声波探头包括凹形橡胶,能够吸附于所述容器的内壁上;该装置设有多个可拆卸的超声波探头,可以实现同时在不同容器中清洗不同规格的器皿,同时超声波变频器发出不同功率通过引线发送到探头,使超声波探头针对不同清洗物以及不同程度的油污进行不同声波清洗,使清洗达到最佳效果。
