一种可控温式分水器 (CN201620900507.7)

文章来源:石化研究所发布时间:2024-03-09浏览次数:10

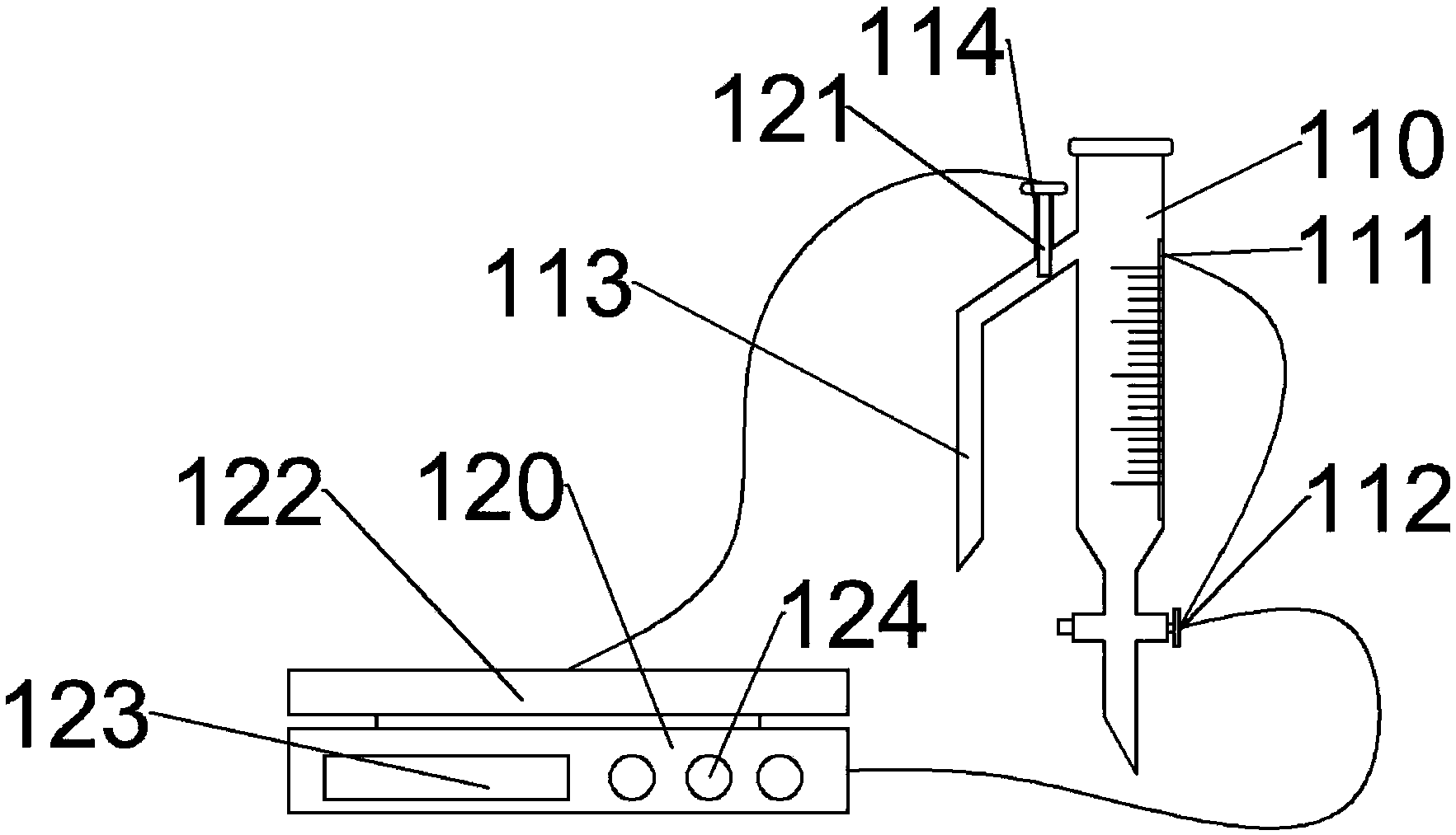
本实用新型公开了一种可控温式分水器,包括:分水器,其斜管上方设有测温管,所述测温管顶部设有密封装置;测温棒,其穿过测温管顶部密封装置,可拆卸连接于测温管内;控温加热盘,其与所述测温棒电联接;以及电动阀门,其设置于分水器下方;所述分水器集液管内设有水位监测装置,其电联接控温加热盘;该装置在分水器上设有测温装置,解决特殊实验时测温,温控加热的问题,同时设有在分水器内设有水温监测装置,当集液管内液体达到所需用量时,水位监测装置报警,电动阀门放出液体,并结束加热,已达到更好的简化实验检测流程。