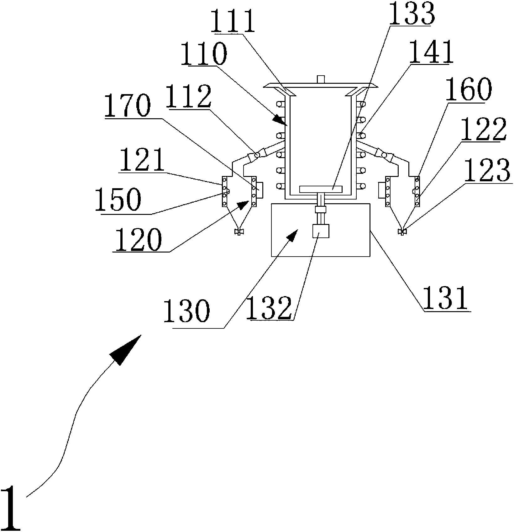
本实用新型公开了一种保鲜粥锅。包括:主锅;副锅,其与主锅相连通,在副锅下部设有出粥口;以及主锅搅拌装置,其部分伸入主锅内部,用于搅拌主锅内盛装的粥品;主锅冷却装置,其设置在主锅的外部,用于冷却保鲜主锅内盛装的粥品;副锅测温装置,其分别设置在副锅内,用于测量副锅内盛装粥品的温度;副锅加温装置,其设置在所述副锅上,用于加温副锅内盛装粥品;副锅控温装置,其分别与副锅测温装置和副锅加温装置电连接,用于控制副锅内盛装粥品的温度。本实用新型的有益效果是:通过连通的主锅和副锅分别盛装粥品,能够对主锅内的粥品进行保鲜,还能够对副锅内的粥品进行加温;主锅内设有主锅搅拌装置,能够保障粥品性质均一。
