一种具有吸音降噪功能的隔离护栏 (CN201720116625.3)

文章来源:石化研究所发布时间:2024-03-14浏览次数:10

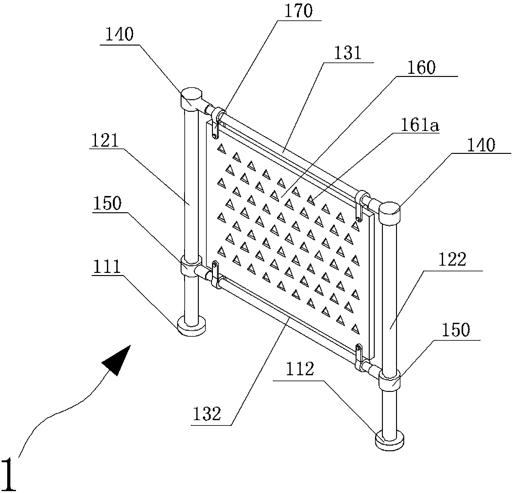
本实用新型公开了一种具有吸音降噪功能的隔离护栏。包括:隔离护栏本体,其上部设有隔音板;所述隔音板包括;基板层;吸音层,其设置在基板层的上方,用于吸收噪音;吸音垫板,其设置在所述吸音层的上方,用于进一步吸收噪音;其中,在所述吸音垫板上设有多个交错设置的吸音孔,所述吸音孔呈三角形。本实用新型的有益效果是:设有隔音板,所述隔音板由多个层结构组成,能够有效地降低噪音;设有横杆锁定机构,能够实现横杆的快速拆装;所述隔音孔呈三角形,相较现有的圆形隔音孔具有更改的吸收噪音的功能。