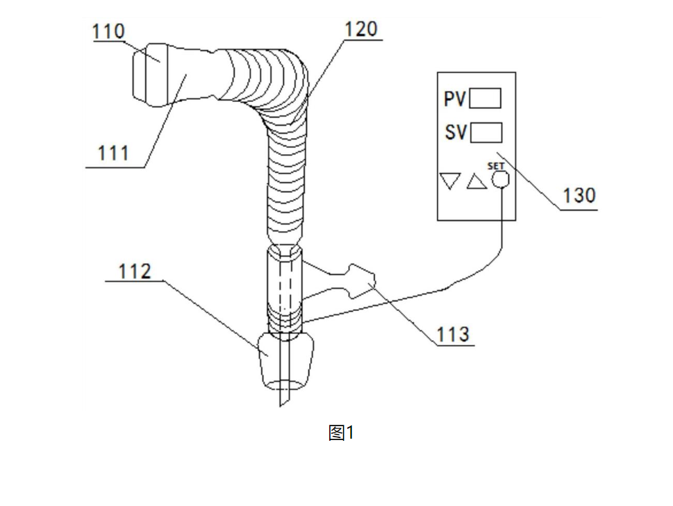
本实用新型公开了一种尾接管温控装置,包括:隔离层,其缠绕在尾接管的外侧;相变层,其设置在所述隔离层内部,所述相变层的长度小于所述隔离层的长度;电加热装置,其设置在所述相变层的内部;两个紧固口,其分别设置在所述隔离层的两端,且所述两个紧固口固定在所述尾接管的外侧。本实用新型通过电加热装置和相变层的结合,使得对尾接管加热的同时,能够随时调节加热温度,增强了尾接管的使用性能。

文章来源:石化研究所发布时间:2024-08-07浏览次数:10
本实用新型公开了一种尾接管温控装置,包括:隔离层,其缠绕在尾接管的外侧;相变层,其设置在所述隔离层内部,所述相变层的长度小于所述隔离层的长度;电加热装置,其设置在所述相变层的内部;两个紧固口,其分别设置在所述隔离层的两端,且所述两个紧固口固定在所述尾接管的外侧。本实用新型通过电加热装置和相变层的结合,使得对尾接管加热的同时,能够随时调节加热温度,增强了尾接管的使用性能。

地址:古塔校区 辽宁省锦州市北京路二段四号 邮编:121000
滨海校区 锦州市太和区柳江街2段2号 邮编:121000
电话:0416-3212009 辽宁石化职业技术学院 版权所有
