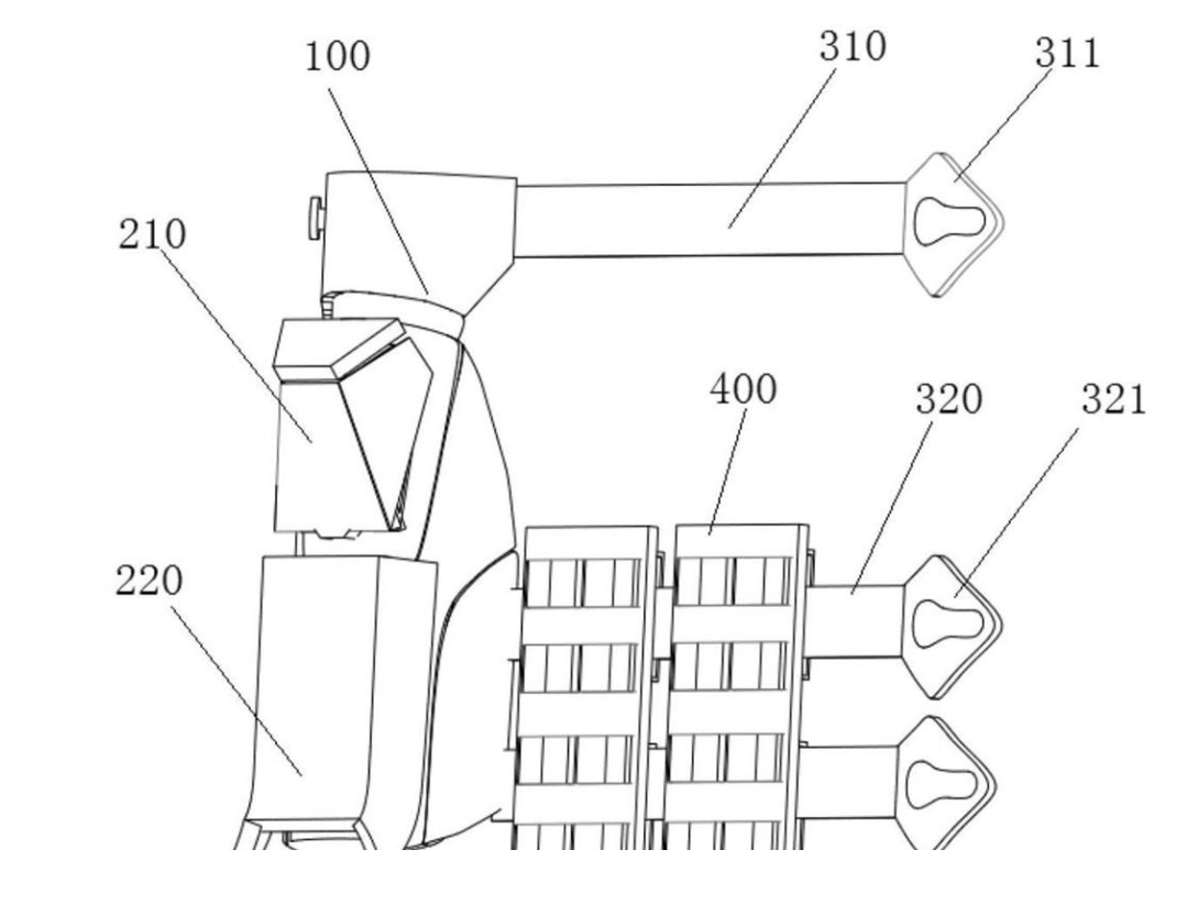
本发明公开了一种新型腿部防护加强装置,包括:护腿本体,其具有凹面侧和凸面侧;第一护板,其安装在护腿本体的凸面侧,并且位于对应佩戴者膝盖的位置;第二护板,其安装在护腿本体的凸面侧,位于对应佩戴者小腿的位置;其中,第一护板与第二护板均为氧化铝材质;第一固定带,其连接在护腿本体上对应佩戴者膝盖上方的位置;多个第二固定带,其平行间隔设置,并且连接在护腿本体上对应佩戴者小腿的位置;多个挂板,其可拆卸的安装在第二固定带上,挂板上具有多个挂包位;并且挂板的内部具有防护衬层;其中,当腿部防护加强装置佩戴完成时,第一固定带和第二固定带环绕在佩戴者腿部后侧;挂板沿第二固定带的环绕方向排列在佩戴者小腿的后侧。


