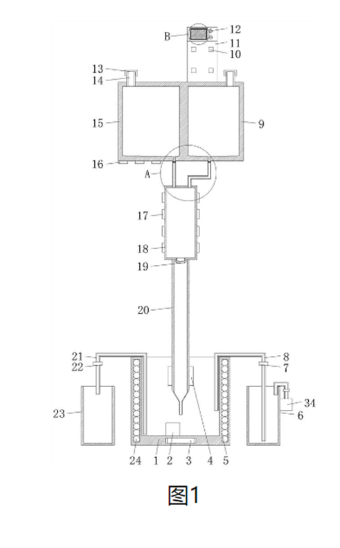
本实用新型公开了一种全自动酸碱值测定装置,属于化学实验产品分离提纯技术领域,包括反应罐,本实用新型通过设置反应罐、颜色反应器、小型离心机马达、待反应原料罐、第一吸液泵、第一吸液管、第一原料罐、电钮开关、操作面板、电钮键、进料管、第二原料罐、第一微型马达片、第二微型马达片、搅拌管、第一出料口、第二吸液管、第二吸液泵、废液罐、连接管、第二出料口、第三出料口、称重管、重量感应器、电子显示屏和指示剂储罐,在这些结构的相互配合下,实现了自动化程度高的功能,既可以避免实验人员在酸碱滴定实验过程中,出现操作失误的情况,又可以在酸碱滴定实验过程中,绝大程度上解放实验人员的双手。


