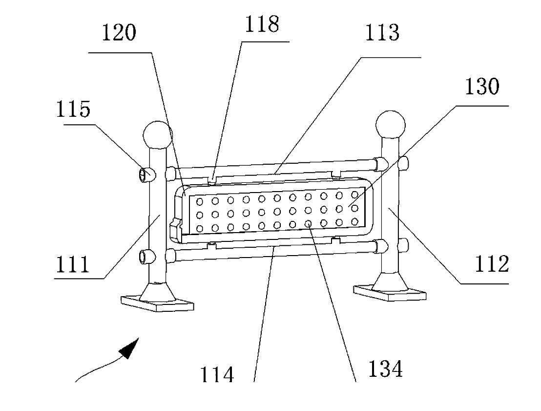
本实用新型公开了一种环保护栏。包括:护栏架本体;安装框,其可拆卸地设置在所述护栏架本体的中部,用于固定光催化板;光催化板,其可拆卸地设置在所述安装框内,用于光催化空气中的有机物,净化空气;其中,所述光催化板包括:第一二氧化钛层和第二二氧化钛层,其设置在所述光催化板的端面,用于使空气中的有机物发生光催化反应;活性炭层,其在所述第一二氧化钛层和第二二氧化钛层之间,用于吸收多余水分。本实用新型的有益效果是:能够净化空气。

文章来源:石化研究所发布时间:2025-10-06浏览次数:10
本实用新型公开了一种环保护栏。包括:护栏架本体;安装框,其可拆卸地设置在所述护栏架本体的中部,用于固定光催化板;光催化板,其可拆卸地设置在所述安装框内,用于光催化空气中的有机物,净化空气;其中,所述光催化板包括:第一二氧化钛层和第二二氧化钛层,其设置在所述光催化板的端面,用于使空气中的有机物发生光催化反应;活性炭层,其在所述第一二氧化钛层和第二二氧化钛层之间,用于吸收多余水分。本实用新型的有益效果是:能够净化空气。

地址:古塔校区 辽宁省锦州市北京路二段四号 邮编:121000
滨海校区 锦州市太和区柳江街2段2号 邮编:121000
电话:0416-3212009 辽宁石化职业技术学院 版权所有
