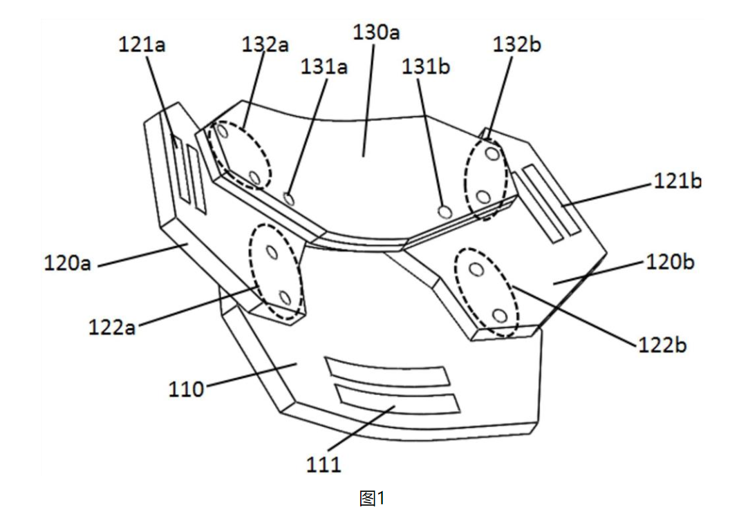
本实用新型公开了一种新型战术护颈,包括依次可拆卸连接的胸部固定甲块、肩部固定甲块和树脂镜片;其中,胸部固定甲块,其两侧对称设置第一螺纹孔和第二螺纹孔,且所述胸部固定甲块上具有能够匹配安装molle带的第一固定口;两个肩部固定甲块,其上均具有与所述第一螺纹孔匹配设置的第三螺纹孔、与所述第二螺纹孔匹配设置的第四螺纹孔和第五螺纹孔,且所述肩部固定甲块上具有能够匹配安装molle带的第二固定口;树脂镜片,其上具有与所述第四螺纹孔匹配设置的第六螺纹孔和与所述第五螺纹孔匹配设置的第七螺纹孔。

文章来源:石化研究所发布时间:2025-10-26浏览次数:10
本实用新型公开了一种新型战术护颈,包括依次可拆卸连接的胸部固定甲块、肩部固定甲块和树脂镜片;其中,胸部固定甲块,其两侧对称设置第一螺纹孔和第二螺纹孔,且所述胸部固定甲块上具有能够匹配安装molle带的第一固定口;两个肩部固定甲块,其上均具有与所述第一螺纹孔匹配设置的第三螺纹孔、与所述第二螺纹孔匹配设置的第四螺纹孔和第五螺纹孔,且所述肩部固定甲块上具有能够匹配安装molle带的第二固定口;树脂镜片,其上具有与所述第四螺纹孔匹配设置的第六螺纹孔和与所述第五螺纹孔匹配设置的第七螺纹孔。

地址:古塔校区 辽宁省锦州市北京路二段四号 邮编:121000
滨海校区 锦州市太和区柳江街2段2号 邮编:121000
电话:0416-3212009 辽宁石化职业技术学院 版权所有
